Запасные части ЧТЗ Запасные части ЧТЗ
Балашиха
Например:
Актобе
Алдан
или
Выбрать автоматически
Актобе
Алдан
Алматы
Алчевск
Архангельск
Астана
Астрахань
Атырау
Баку
Балашиха
Барнаул
Белгород
Бердянск
Бишкек
Владивосток
Владикавказ
Воркута
Воронеж
Горловка
Грозный
Донецк
Екатеринбург
Иваново
Ижевск
Иркутск
Казань
Калининград
Каменск-Уральский
Караганда
Каховка
Кемерово
Киров
Комсомольск-на-Амуре
Костанай
Краснодар
Красноярск
Красный луч
Ленск
Луганск
Магадан
Магнитогорск
Макеевка
Махачкала
Мелитополь
Минск
Мирный (Якутия)
Москва
Мурманск
Нерюнгри
Нижневартовск
Нижний Новгород
Нижний Тагил
Новая каховка
Новокузнецк
Новосибирск
Новый Уренгой
Норильск
Ноябрьск
Нур-Султан
Омск
Оренбург
Ош
Павлодар
Пермь
Петрозаводск
Петропавловск
Петропавловск-Камчатский
Псков
Ростов-на-Дону
Салехард
Самара
Санкт-Петербург
Саратов
Севастополь
Семей
Симферополь
Сочи
Ставрополь
Сургут
Сыктывкар
Тараз
Ташкент
Токмак
Томск
Тында
Тюмень
Ульяновск
Усинск
Усть-Каменогорск
Уфа
Хабаровск
Ханты-Мансийск
Херсон
Челябинск
Чита
Шымкент
Экибастуз
Энергодар
Южно-Сахалинск
Якутск
Ваш город
Балашиха
Войти
Запасные части к тракторам на одном сайте
+7 (932) 303-00-10
+7 (932) 303-00-10
г. Балашиха, Объездное шоссе, вл4А
Пн-Пт: 9:30-18:30 Cб-Вс: Выходной
Отправить заявку


Ремонт бортового редуктора Т-170 Б-170 трактора в Балашихе


/
с НДС 20%
Описание

На тракторе Т-170.01 применяется бортовой редуктор с самоустанавливающейся ведомой шестерней второй ступени, дополнительными шариковыми подшипниками на осях ведущей и двойной шестерен и увеличенным передаточным числом i= 14,79 вместо i—9,94 в бортовом редукторе трактора Т-170.00. Бортовой редуктор трактора Т-170.01 должен применяется в трансмиссии только с коробкой передач 50-12-8СП.

Снятие и разборка бортового редуктора Т-170

Слейте масло из бортового редуктора. Разъедините гусеницу, снимите кабину с топливным баком и крыльями (см. «Ремонт коробки передач Т-170»), бортовой фрикцион, ведущее колесо и лабиринтные уплотнения.

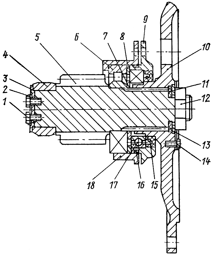
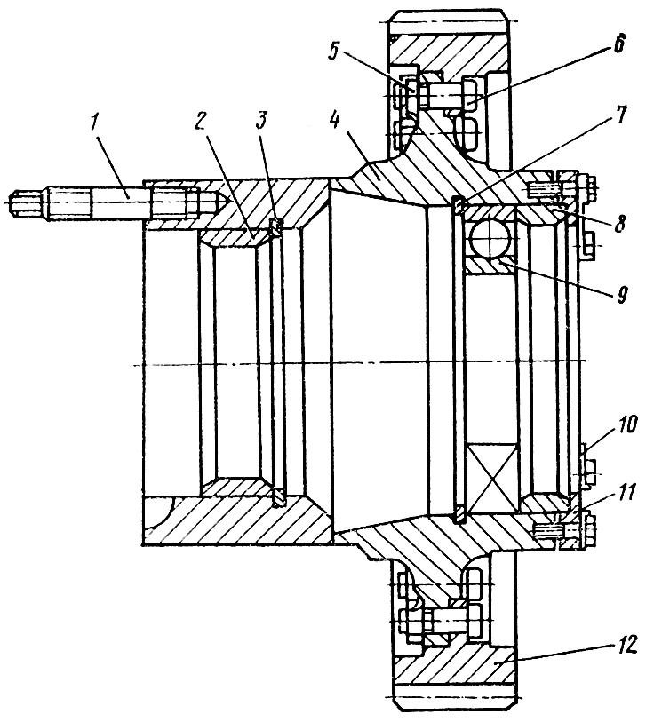
Бортовой редуктор трактора Т-170.01

Рис. 247. Бортовой редуктор трактора Т-170.01

Удалите заглушку 6 ( рис. 247 ) из шпоночного паза полуоси 16. Выпрессуйте шпонку.7 и снимите с полуоси резиновое кольцо 5 и стальное кольцо 4. Отверните гайки и болты крепления кожуха бортового редуктора.

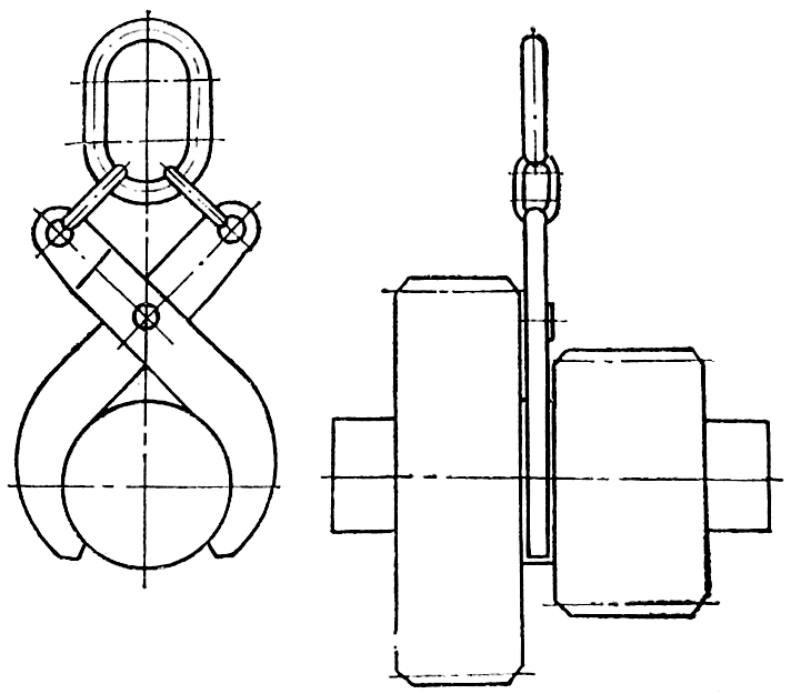
Схема строповки бортового редуктора

Рис. 248. Схема строповки бортового редуктора

Застропите кожух бортового редуктора за отверстие в ребре (рис. 248). Вверните два отжимных : болта в отверстия М14, сдвиньте кожух со штифтов и снимите его.

Схема строповки ступицы

Рис. 249. Схема строповки ступицы

Застропите ступицу ( рис. 249 ) с шестерней и снимите ее с полуоси вместе с роликоподшипником 8 ( см. рис. 247 ), втулкой 2, шарикоподшипником и наружным кольцом роликоподшипника 17.

Выверните торцовым ключом через, отверстие С в ведущем фланце шесть болтов 14. Вверните два отжимных болта М12ХК75 в корпус подшипника.

Схема строповки ведущего фланца

Рис. 250. Схема строповки ведущего фланца

Застропите ( рис. 250 ) ведущий фланец с шестерней и выпрессуйте отжимными болтами корпус подшипника из гнезда. Выньте ведущий фланец с шестерней 15 ( рис. 247 ) из отделения бортового фрикциона.

Шестерня двойная

Рис. 251. Шестерня двойная

Застропите двойную шестерню. Масса шестерни 40 кг. Расстопорите и отверните гайку ( рис. 251 ) и снимите, фиксатор 3. Снимите двойную шестерню с внутренними кольцами роликоподшипников 4 и 9. Выверните шесть болтов 12 и снимите фиксатор 6. Выбейте медной оправкой корпус 10 подшипника вместе со стержнем, шарикоподшипником и наружным кольцом роликоподшипника. Выпрессуйте шарикоподшипник вместе с наружным кольцом роликоподшипника и удалите стержень 5.

Разборка ступицы Т-170

Ступица

Рис. 252. Ступица

Отогните концы стопорных пластин 3 ( рис. 252 ) и сверните гайки с болтов 5 крепления шестерни 4 и венца 12 к ступице 13. Выбейте болты, удалите их и планки 6. Снимите шестерню и венец. Выпрессуйте съемником наружное кольцо роликоподшипника 1 и при необходимости выньте стопорное кольцо 14.

Переверните ступицу крышкой 10 вверх. Отогните концы стопорных пластин 7 с граней головок болтов, крепящих крышку 10 к торцу ступицы. Выверните болты и снимите крышку. Выпрессуйте съёмником шарикоподшипник 9 вместе с наружным кольцом роликоподшипника 8. При необходимости выньте стопорное кольцо 11.

Разборка ведущего фланца Т-170

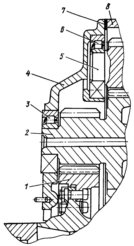
Фланец ведущий

Рис. 253. Фланец ведущий

Расстопорите и отверните болт 14 ( рис. 253 ) и снимите стопорную пластину. Сверните гайку 42 с конца ведущей шестерни 5 и снимите металлическое кольцо 13 и резиновую прокладку 11. Спрессуйте со шлицев ведущей шестерни фланец 10. Снимите с корпуса крышку 9 и выпрессуйте из нее манжету 15 и шарикоподшипник 17. Выпрессуйте из- корпуса 18 наружное кольцо 6 роликоподшипника с роликами и сепаратором.

Разборка кожуха бортового редуктора Т-170

Выверните болты 11 ( см. рис. 247 ) и снимите крышку 10 с прокладками 9.

Кожух бортового редуктора

Рис. 254. Кожух бортового редуктора

Расстопорите и выверните болты 6 ( рис. 254 ) и удалите фиксаторы 7 и стопорные пластины 5. Выпрессуйте из кожуха 4 съемником наружное кольцо роликоподшипника 8 с роликами и сепаратором. Выверните из кожуха стопор 9. Выпрессуйте наружное кольцо роликоподшипника 3 с. роликами и сепаратором.

Кожух, ступицу с шестерней и двойную шестерню можно снять, не снимая кабины, топливного бака и бортового фрикциона.

Технические требования бортового редуктора Т-170

  1. Наружные и внутренние кольца подшипников и корпус подшипника двойной шестерни запрессовать до упора.

  2. Наружные и внутренние кольца одноименных подшипников должны иметь одинаковую маркировку. Разукомплектовка. колец подшипников не допускается.

  3. Перед сборкой трущиеся поверхности подшипников и манжеты следует смазать трансмиссионным маслом ТЭп-15.

  4. После сборки бортового редуктора проверьте биение ведущего фланца. Допускается биение поверхности К ( см. рис. 247 ) не более 0,5 мм, поверхности Я не более 1 мм на диаметре 380 мм,

  5. Несоосность вала конической шестерни главной передачи и ведущего фланца бортового редуктора не более 0,55 мм. Непараллельность их осей не более 1 мм на диаметре 380 мм.

  6. Двойная шестерня:
    • длина общей нормали малого венца 55,002-0,25 мм
    • длина общей нормали большого венца двойной шестерни 70,078-0,35 мм
    • натяг между шарикоподшипником 70-32417М и шейкой шестерни 0,013...0,055, допустимый натяг 0,0 мм, предельный зазор 0,1 мм.
    • натяг между роликоподшипником 70-32612К и шейкой шестерни 0,011...0,045 мм, допустимый натяг 0,0 мм, предельный зазор 0,1 мм.

  7. Кожух:
    • сопряжение между. роликоподшипником 70-32417М и гнездом кожуха должно быть от натяга 0,016 мм до зазора 0,060 мм, допустимый зазор 0,080 мм, предельный зазор 0,2 мм;
    • сопряжение между роликоподшипником 70-32612К и гнездом кожуха должно быть от натяга 0,014 мм до зазора 0,044 мм.

  8. Шариковые подшипники установлены с зазором по внутреннему диаметру.

  9. Ведомая шестерня:
    • длина общей нормали наружных зубьев 186,46 мм, допустимая длина общей нормали 185,0 мм;
    • длина общей нормали внутренних зубьев 154,58+0,40 мм допустимая длина общей нормали 155,7 мм.

  10. Венец:
    • длина общей нормали 154,58-0,15 мм допустимая длина общей нормали 153,4 мм.

  11. Ведущая шестерня:
    • длина общей нормали 44,467-0,16 мм, допустимая длина общей нормали 43,10 мм;
    • натяг между роликоподшипником 70-32612К и шейкой шестерни 0,011...0,045, допустимый натяг 0,0 мм, предельный зазор 0,1 мм;
    • натяг между роликоподшипником 70-32315 и шейкой шестерни 0,011...0,045 мм, допустимый натяг 0,0 мм, предельный зазор 0,1 мм.

  12. На поверхности под манжету у ведущего фланца кольцевая выработка, риски не допускаются. При наличии выработки и рисок обработайте поверхность до их устранения, но до размера не менее 99,25 мм.

Сборка бортового редуктора Т-170

Сборка ведущего фланца Т-170

Нагрейте внутренние кольца роликоподшипников 4 ( см. рис. 253 ) и 6 в масляной ванне до температуры 363—383 К (90...110°С) и напрессуйте на шейки шестерни 5 до упора в опорные торцы. Установите фиксатор 3 и закрепите его двумя болтами 1 со стопорной пластиной 2. Отогните концы стопорной пластины на грани головок болтов. Запрессуйте в корпус 18 подшипника наружное кольцо роликоподшипника 6 до упора в бурт корпуса. Запрессуйте в крышку 9 шарикоподшипник 17 до упора в бурт. Переверните крышку с подшипником и запрессуйте в нее манжету 15 до упора в шарикоподшипник уплотняющей кромкой в сторону подшипника. Установите корпус подшипника с наружным кольцом на ведущую шестерню 5. Установите в корпус кольца 7 и 8. Наденьте на крышку резиновое кольцо 16 и установите ее в корпус до упора в кольцо 8. Напрессуйте на шлицы ведущей шестерни фланец 10. Наденьте на резьбовой конец ведущей шестерни резиновую прокладку 11, стальную шайбу 13 и наверните гайку 12. Момент затяжки гайки 245...294 Нли (25...30 кгс-м). Наденьте на гайку стопорную пластину и закрепите ее болтом 14. Отогните край стопорной пластины на грань головки болта.

Сборка ступицы Т-170

Установите ступицу фланцем вверх. Установите на неё венец 12 ( см. рис. 252 ). Наденьте на венец шестерню 4. Наденьте на болты 5 планки 6 и запрессуйте болты в отверстия венца и ступицы. Установите в канавку ступицы кольцо И и запрессуйте шарикоподшипник 9 до упора в кольцо. Запрессуйте в ступицу наружное кольцо 8 роликоподшипника до упора в шарикоподшипник. Установите крышку 10 и закрепите ее восемью, болтами со стопорными пластинами 7. Момент затяжки болтов 40...60 Н•м (4...6 кгс • м). Отогните концы стопорных пластин на грани головок болтов. Переверните ступицу фланцем вниз. Наденьте на болты 5, запрессованные в отверстия венца и ступицы, стопорные пластины 3 отогнутыми концами вверх и наверните на болты гайки 2. Момент затяжки гаек 200...300 Н • м (20...30 кгс-м). Отогните концы пластин на грани гаек. Установите стопорное кольцо 14 в канавку ступицы. Запрессуйте наружное кольцо 1 роликоподшипника до упора в стопорное кольцо.

Сборка кожуха Т-170

Запрессуйте в кожух бортового редуктора наружное кольцо 8 ( см. рис. 254 ) роликоподшипника до упора. Закрепите его фиксатором 7. Наденьте на стопор 9 резиновое кольцо 10 и вверните его в кожух. Запрессуйте в кожух наружное кольцо 3 роликоподшипника. Вверните в кожух бортового редуктора магнитную пробку 1, запрессуйте штифт 2Х

Установка ведущего фланца Т-170

Наденьте на корпус подшипника ведущей шестерни прокладки 13 ( см. рис. 247 ). Застропите собранный ведущий фланец ( см. рис. 250 ) и установите его в гнездо корпуса бортовых фрикционов. Закрепите корпус с крышкой болтами 14 ( см. рис. 247 ) с пружинными шайбами. Момент затяжки болтов 40...60 Н-м (4;6 кгс-м).

Установка двойной шестерни Т-170

Наденьте на шейку двойной шестерни кольцо, 8 ( см. рис. 251 ). Нагрейте внутренние кольца 4 и 9 роликоподшипников до температуры 363...383 К (90...110 °С) и напрессуйте на шейки двойной шестерни до упора.

Наденьте на корпус 10 резиновое кольцо 7. Вставьте в корпус стержень 5 и запрессуйте шарикоподшипник 11 до упора в бурт корпуса. Запрессуйте наружное кольцо роликоподшипника 9 до упора в шарикоподшипник. Установите собранный корпус подшипника в гнездо корпуса бортовых фрикционов до упора во фланец. Закрепите фиксатор 6 к корпусу бортовых фрикционов четырьмя болтами 12 со. стопорными шайбами.

Застропите двойную шестерню и введите в зацепление большой венец с ведущей шестерней. Вставьте двойную шестерню внутренним кольцом подшипника в наружное кольцо с роликами. Наденьте на стержень фиксатор 3 и стопорную шайбу 2. Наверните на стержень гайку 1 и затяните ее. Момент затяжки гайки 200...250 Н-м (20.., 25 кгс-м). Отогните край стопорной пластины 2 на грань гайки.

Установка ступицы Т-170

Застропите ступицу захватом ( см. рис. 249 ) и установите на полуось, введя в зацепление шестерню с двойной шестерней. Установите в ступицу втулку 2 ( см. рис. 247 ). Напрессуйте внутреннее кольцо роликоподшипника 8 на полуось с помощью оправки. Наденьте на полуось кольцо 4 до упора во внутреннее кольцо роликоподшипника 8 и резиновое кольцо 5. Посадите в паз полуоси шпонку 7 и установите деревянную заглушку 6.

Установка кожуха Т-170

Смажьте солидолом привалочную плоскость боковины корпуса бортовых фрикционов и приклейте прокладку 12. Застропите захватом ( см. рис. 248 ) кожух, установите его на внутренние кольца роликоподшипников и посадите на, установочные штифты.

Крепление бортового редуктора

Рис. 255. Крепление бортового редуктора

Закрепите кожух:

  1. четырьмя призонными болтами 2 ( рис. 255 ) с резьбой М20ХЕ5 с пружинными шайбами и гайками. Момент затяжки гаек 120...150 Н-м (12...15 кгс-м);

  2. семью болтами 3 с резьбой М16Х1.5 с пружинными шайбами и гайками. Момент затяжки гаек 100... 120 Н-м (10... 12 кгс-м);

  3. шестнадцатью болтами 4 с резьбой М16 и четырьмя болтами с резьбой М12. Момент затяжки болтов 40...60 Н-м (4...6 кгс-м). Установите крышку 10 ( см. рис. 247 ) с прокладкой 9 и закре-1 пите ее шестью болтами 11 с пружинными .шайбами. Момент затяжки болтов 40...60 Н-м (4...6 кгс-м).

Установите лабиринтные уплотнения и ведущее колесо, бортовой фрикцион, топливный бак и кабину.

Ремонт бортового редуктора Т-170.00

В трансмиссии трактора Т-170.00 используется бортовой редуктор такой же, как и на тракторе Т-130М, с передаточным числом i—9,94, уменьшенным по сравнению с передаточным числом 1=14,79 бортового редуктора трактора Т-170.01.

Бортовой редуктор трактора Т-170.00 может применяться только вместе с коробкой передач 50-12-7СП.

Снятие и разборка бортового редуктора Т-170.00

Слейте масло из картера бортового редуктора. Разъедините гусеницу, отсоедините и снимите тележку гусениц. Снимите топливный бак, кабину, бортовой фрикцион, концевой подшипник, ведущее колесо, большое и малое уплотнения.

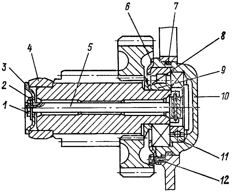
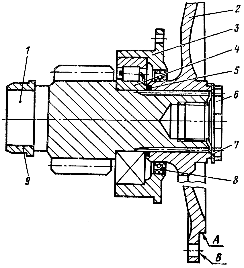
Бортовой редуктор трактора Т-170.00

Рис. 256. Бортовой редуктор трактора Т-170.00

Выпрессуйте шпонку 5 ( рис. 256 ) из шпоночного паза полуоси 21 и удалите заглушку 6, резиновое кольцо 7 и кольцо 8. Выверните болты и отверните болты с гайками крепления кожуха бортового редуктора. Присоедините к подъемнику кожух бортового редуктора за отверстие прилива ( см. рис. 248 ). Вверните два отжимных болта М14 и отодвиньте кожух бортового редуктора от плоскости корпуса бортовых фрикционов. Сдвиньте кожух со штифтов и снимите его. Выверните болты 9 ( см. рис. 256 ) и снимите крышку 10 с прокладками 13.

Выпрессовка наружного кольца подшипника

Рис. 257. Выпрессовка наружного кольца подшипника

Выпрессуйте из кожуха 1 съемником ( рис. 257 ) наружное кольцо роликоподшипника 12 ( см. рис. 256 ) (разукомплектовка колец подшипников не допускается) и выпрессуйте съемником наружное кольцо роликоподшипника 14. Присоедините к подъемнику ступицу 3 приспособлением ( см. рис. 249 ) и снимите ее с полуоси вместе с роликоподшипником 4 ( см. рис. 256 ), наружным кольцом роликоподшипника 22 и проставкой 2. Спрессуйте внутреннее кольцо роликоподшипника 22 с полуоси.

Разборка ступицы бортового редуктора

Ступица

Рис. 258. Ступица

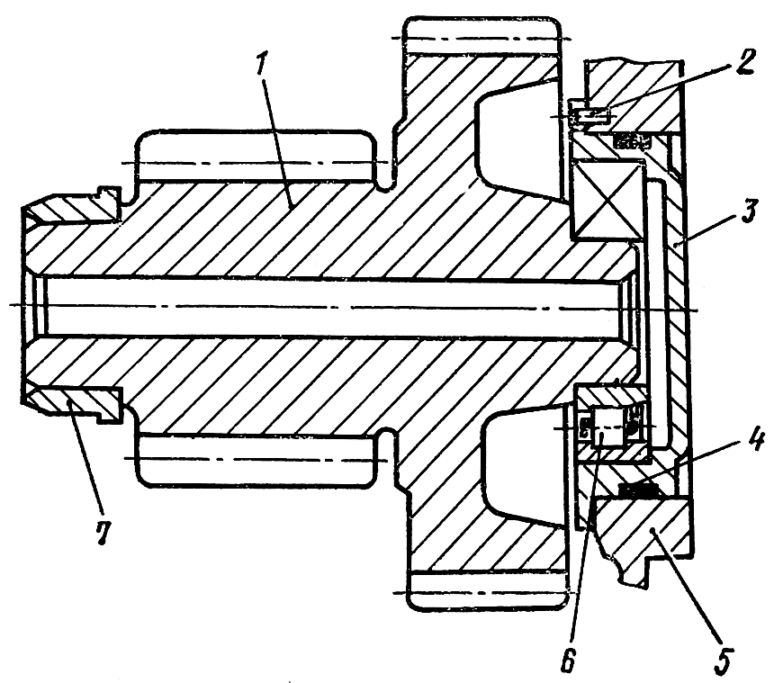
Установите ступицу шпильками 1 ( рис. 258 ) вверх. Выворачивайте шпильки только в случае их замены. Выпрессуйте съемником наружное кольцо роликоподшипника 2 и снимите стопорное кольцо 3. Отогните концы стопорных пластин 5 и отверните гайки с болтов 6 крепления шестерни 12 к фланцу ступицы 4. Выбейте, болты и снимите шестерню. Переверните ступицу и отогните концы стопорных пластин 10 с граней болтов, крепящих крышку И к торцу ступицы. Выверните болты и снимите крышку. Выпрессуйте съемником шарикоподшипник 9 вместе с наружным кольцом роликоподшипника 8. Снимите стопорное кольцо 7.

Схема строповки двойной шестерни

Рис. 259. Схема строповки двойной шестерни

Присоедините к подъемнику захватом ( рис. 259 ) двойную шестерню 11 ( см. рис. 256 ) и снимите ее вместе с внутренними кольцами роликоподшипников 12 и 20. Масса шестерни 40 кг.

Спрессовка внутренних колец подшипников

Рис. 260. Спрессовка внутренних колец подшипников

Спрессуйте с шестерни съемником ( рис. 260 ) внутренние кольца роликоподшипников. Выверните шесть болтов 15 ( см. рис. 256 ) крепления корпуса 17 роликоподшипника 18 ведущего фланца 16. Вверните два отжимных болта М12ХА75 в корпус 17 подшипника. Присоедините к подъемнику ведущий фланец приспособлением ( см. рис. 250 ), выпрессуйте отжимными болтами корпус подшипника. Выньте ведущий фланец 16 ( см. рис. 256 ) из отделения бортовых фрикционов. Выбейте медной оправкой корпус 19 роликоподшипника 20.

Шестерня двойная

Рис. 261. Шестерня двойная

Выпрессуйте съемником наружное кольцо роликоподшипников 6 ( рис. 261 ) из корпуса 3 роликоподшипника.

Фланец ведущий

Рис. 262. Фланец ведущий

Установите снятый ведущий фланец 2 ( рис. 262 ) в сборе с шестерней на приспособление. Отогните усики стопорной шайбы 7 и специальным ключом выверните пробку 6. Спрессуйте со шлицев вала-шестерни 1 ведущий фланец 2. Снимите корпус 3 с наружным кольцом роликоподшипника 4, выпрессуйте съемником наружное кольцо роликоподшипника и манжету 8 из корпуса подшипника.

Выпрессовка внутренних колец подшипников

Рис. 263. Выпрессовка внутренних колец подшипников

Снимите со шлицев вала шестерни резиновое кольцо 5 и выпрессуйте съемником ( рис. 263 ) внутренние кольца роликоподшипников 4 и 9 ( см. рис. 262 ), с обеих шеек вала-шестерни.

Сборка и установка бортового редуктора Т-170.00

Сборка и установка ведущего фланца

Запрессуйте в корпус 3 подшипника манжету 8 заподлицо с торцом корпуса уплотняющей кромкой манжеты, обращенной вовнутрь корпуса.

Запрессуйте в корпус подшипника наружное кольцо роликоподшипника 4 до упора в.бурт корпуса. Нагрейте внутренние кольца роликоподшипников 4 и 9 в масляной ванне до 363 К (90°С) и напрессуйте на шейки вала-шестерни 1 до упора в бурт. Разукомплектовка колец подшипников не допускается. Наружные и внутренние кольца одноименных подшипников должны иметь одинаковую маркировку. Наденьте на шлицевой конец вала шестерни резиновое кольцо 5, корпус 3 подшипника с наружным кольцом роликоподшипника — на внутреннее кольцо. Напрессуйте на шлицы ведущей шестерни фланец 2 до упора во внутреннее кольцо роликоподшипника. Установите собранный узел центра и проверьте биение поверхностей А и В. Биение поверхности А допускается не более 0,6 мм, а поверхности В не более 0,2 мм. Установите стопорную шайбу 7 на торце ведущего фланца и вверните пробку 6 в отверстие вала шестерни специальным ключом до упора. Момент затяжки 40...60 Н-м (4...6 кгс-м). Отогните край стопорной шайбы на фланец, а усики на пазы пробки. Установите прокладки В ( см. рис. 256 ), обеспечив осевой люфт фланца ведущей шестерни в пределах 0,4...1,5 мм, для чего:

  • замерьте ширину стенки корпуса бортовых фрикционов, размер А;

  • подберите комплект прокладок согласно таблицы:
    Толщина и кол-во прокладок
    Ширина А стенки корпуса бортовых фрикционов, мм Количество прокладок в комплекте (толщина прокладки 0,5 мм)
    125,9...126,3 6
    126,3...126,7 5
    126,7...127,1 4
    127,1...127,5 3

  • соедините с подъемником фланец ведущий в сборе с шестерней захватом ( см. рис. 250 ) и опустите в отверстие корпуса бортовых фрикционов;

  • поверните корпус подшипника пазом вверх и наденьте на него подобранный комплект прокладок. Введите шестерню и посадите корпус подшипника в отверстие корпуса бортовых фрикционов. Закрепите, корпус подшипника ведущего фланца к стенке корпуса бортовых фрикционов шестью болтами с шайбами. Затяните болты через отверстия ведущего фланца. Момент затяжки болтов 40...60 Н-м (4...6 кгс-м).

Запрессуйте в корпус 3 ( см. рис. 261 ) наружное кольцо роликоподшипника 6 до упора. Установите в канавку корпуса резиновое кольцо 4. Перекручивание кольца не допускается. Запрессуйте в боковую стенку корпуса бортовых фрикционов штифт 2. Смажьте: резиновое кольцо 4 — маслом ТЭп-15, сепараторы с роликами подшипника 6 — смесью 10. 20% масла трансмиссионного ТЭп-15 и 80...90 % пресс-солидола С. Запрессуйте корпус подшипника 3 в отверстие боковой стенки корпуса 5 бортовых фрикционов до упора, посадив вырезом во фланце на штифт 2.

Нагрейте в масляной ванне внутренние кольца роликоподшипников 6 и 7 до температуры 363 К (90°С) и напрессуйте на шейки двойной шестерни 1. Разукомплектовка колец подшипников не допускается. Внутренние и наружные кольца должны иметь одинаковую маркировку. Соедините с подъемником двойную шестерню захватом ( см. рис. 259. ) и установите внутренним кольцом роликоподшипника со стороны большой шестерни в наружное кольцо с роликами и введите шестерни в зацепление.

Сборка и установка ступицы

Установите ступицу на подставку отверстиями под шпильки вверх. Смочите конец шпильки 1 ( см. рис. 258 ) в касторовом масле и заверните их в ступицу 4. Момент затяжки 300...400 Н-м (30...40 кгс-м). Шпильки должны выступать над плоскостью ступицы на величину 70...75 мм. Переверните ступицу фланцем вверх. Посадите на ступицу шестерню 12, совместите отверстия и запрессуйте в них болты 6. Установите в канавку ступицы кольцо 7 и запрессуйте шарикоподшипник 9 до упора в кольцо. Запрессуйте в ступицу наружное кольцо роликоподшипника 8 до упора в шарикоподшипник. Установите крышку 11 и закрепите восемью болтами со стопорными пластинами 10. Момент затяжки болтов 40...60 Н-м (4...6 кгс • м). Отогните концы стопорных пластин 10 на грани головок болтов. Переверните ступицу шпильками вверх. Наденьте на болты 6 запрессованные в отверстия фланца ступицы и шестерни пластины 5 отогнутыми концами вверх и закрепите гайками. Момент затяжки гаек 200...250 Н-м (20...25 кгс-м). Отогните концы пластин на грани гаек. Установите стопорное кольцо 3 в канавку ступицы. Запрессуйте наружное кольцо роликоподшипника 2 до упора в кольцо.

Ступица с полуосью

Рис. 264. Ступица с полуосью

Нагрейте внутреннее кольцо роликоподшипника 2 ( рис. 264 ) в масляной ванне до температуры 363 К (90 °С). Запрессуйте внутреннее кольцо роликоподшипника 2 на полуось 1 с помощью оправки до упора. Разукомплектовка колец подшипников не допускается. Внутренние и наружные кольца роликоподшипников должны иметь одинаковую маркировку. Соедините с подъемником ступицу 5 в-сборе захватом ( см. рис. 249 ) и установите на полуось, введя в зацепление шестерню 1 ( см. рис. 266 ) с Двойной шестерней 2. Установите проставку 3 ( см. рис. 264 ). Запрессуйте внутреннее кольцо роликоподшипника 4 на полуось с помощью оправки.

Сборка и установка кожуха бортового редуктора

Кожух бортового редуктора

Рис. 265. Кожух бортового редуктора

Запрессуйте в кожух 2 ( рис. 265 ) бортового редуктора наружные кольца роликоподшипников 3 и 4. Разукомплектовка колец подшипников не допускается. Внутренние и наружные кольца подшипников должны иметь одинаковую маркировку. Вверните в кожух бортового редуктора магнитную пробку 1.

Двойная шестерня с кожухом бортового редуктора

Рис. 266. Двойная шестерня с кожухом бортового редуктора

Смажьте солидолом привалочную плоскость боковины корпуса 8 ( рис. 266 ) бортовых фрикционов и приклейте прокладку 7. Соедините с подъемником кожух 4 приспособлением ( см. рис. 248 ) и протрите привалочную плоскость. Установите кожух 4 ( см. рис. 266 ) на внутренние кольца подшипников 3 и б, двойной 2 и ведущей 5 шестерен, и посадите его на установочные штифты.

Закрепите кожух бортового редуктора:

  1. четырьмя призонными болтами 2 ( см. рис. 255 ) с резьбой М20Х1,5, с шайбами и гайками. Момент затяжки гаек 120...150 Н-м (12...15 кгс-м);

  2. семью болтами 3 с резьбой М16Х1,5, с шайбами и гайками. Момент затяжки гаек 100...120 Н-м (10...12 кгс-м);

  3. шестнадцатью болтами 4 с резьбой Ml6. Четырьмя болтами 3 с резьбой М12, момент затяжки болтов 40...60 Н • м (4...6 кгс • м).

Проверьте осевой люфт фланца ведущей шестерни с помощью индикатора. Для получения осевого люфта в пределах 0,4...1,5 мм Допускается установка седьмой прокладки.

Регулирование осевого люфта двойной шестерни

Рис. 267. Регулирование осевого люфта двойной шестерни

Отрегулируйте осевой люфт двойной шестерни 5 ( рис. 267 ) установкой прокладок 4, для чего:

  • подвиньте шестерню 5 с подшипником внутрь кожуха бортредуктора до упора (легкими ударами медного молотка через оправку);

  • установите крышку 2 на подшипник шестерни и замерьте зазор между крышкой и кожухом;

  • определите количество прокладок, необходимое для компенсации зазора и добавьте еще одну прокладку (толщиной 1 мм) для обеспечения осевого люфта двойной шестерни в пределах 0,4...1,5 мм;

  • установите крышку 2 с комплектом прокладок 4 и закрепите шестью болтами 3 с пружинными шайбами на кожухе 1 бортового редуктора.

Момент затяжки болтов 40.. 60 Н • м (4...6 кгс • м).
Установите малое и большое уплотнения (см. раздел «Ремонт ведущего колеса и лабиринтных уплотнений»).





Ремонт бортового редуктора