Запасные части ЧТЗ Запасные части ЧТЗ
Балашиха
Например:
Актобе
Алдан
или
Выбрать автоматически
Актобе
Алдан
Алматы
Алчевск
Архангельск
Астана
Астрахань
Атырау
Баку
Балашиха
Барнаул
Белгород
Бердянск
Бишкек
Владивосток
Владикавказ
Воркута
Воронеж
Горловка
Грозный
Донецк
Екатеринбург
Иваново
Ижевск
Иркутск
Казань
Калининград
Каменск-Уральский
Караганда
Каховка
Кемерово
Киров
Комсомольск-на-Амуре
Костанай
Краснодар
Красноярск
Красный луч
Ленск
Луганск
Магадан
Магнитогорск
Макеевка
Махачкала
Мелитополь
Минск
Мирный (Якутия)
Москва
Мурманск
Нерюнгри
Нижневартовск
Нижний Новгород
Нижний Тагил
Новая каховка
Новокузнецк
Новосибирск
Новый Уренгой
Норильск
Ноябрьск
Нур-Султан
Омск
Оренбург
Ош
Павлодар
Пермь
Петрозаводск
Петропавловск
Петропавловск-Камчатский
Псков
Ростов-на-Дону
Салехард
Самара
Санкт-Петербург
Саратов
Севастополь
Семей
Симферополь
Сочи
Ставрополь
Сургут
Сыктывкар
Тараз
Ташкент
Токмак
Томск
Тында
Тюмень
Ульяновск
Усинск
Усть-Каменогорск
Уфа
Хабаровск
Ханты-Мансийск
Херсон
Челябинск
Чита
Шымкент
Экибастуз
Энергодар
Южно-Сахалинск
Якутск
Ваш город
Балашиха
Войти
Запасные части к тракторам на одном сайте
+7 (932) 303-00-10
+7 (932) 303-00-10
г. Балашиха, Объездное шоссе, вл4А
Пн-Пт: 9:30-18:30 Cб-Вс: Выходной
Отправить заявку


Ремонт балансирной рессоры Т-170 Б-170 трактора в Балашихе


/
с НДС 20%
Описание

Снятие балансирной рессоры Т-170

Рессора балансирная

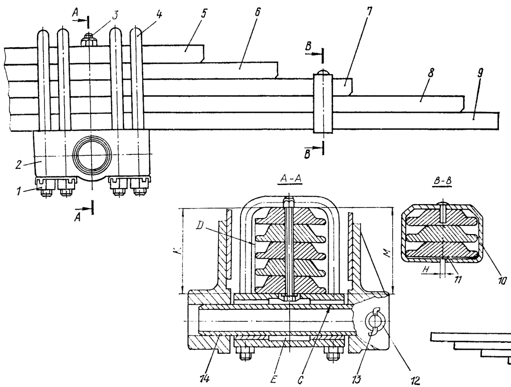
Рис. 306. Рессора балансирная

Снимите передний защитный поддон. Разъедините гусеницу, поднимите домкратами трактор так, чтобы концы рессоры поднялись над своими опорами и подставьте жесткие упоры под корпус бортовых фрикционов и под лонжероны трактору сзади буксирных крюков. Снимите одну тележку гусениц. Установите под рессору две подставки. Выньте стопор 13 ( рис. 306 ), снимите шайбу и выбейте штырь 12, фиксирующий палец рессоры. Выбейте палец 14 рессоры.

Приспособление для подъема рессоры

Рис. 307. Приспособление для подъема рессоры

Передвиньте балансирную рессору из-под трактора в сторону снятой тележки гусеницы, прикрепите ее к подъемнику ( рис. 307 ) и выведите полностью из-под трактора. Масса балансирной рессоры 225 кг.

Разборка балансирной рессоры Т-170

Расстопорите и отверните гайки 1 ( см. рис. 306 ) стремянок, снимите стремянки (и крышку 2. Отверните гайку 3 болта крепления листов рессоры и выньте болт. Разрубите стяжки 10 рессоры по местам сварки зубилом или разрежьте газовой резкой или электросваркой.

Предупреждение: при разрезании стяжек рессоры газовой резкой следите, чтобы не повредить листы рессоры.

Отогните концы стяжек и разъедините листы рессоры. Срубите заклепки, крепления стяжек, снимите стяжки и выбейте заклепки из третьего листа рессоры.

Технические требования балансирной рессоры Т-170

  1. Суммарная длина зазоров между двумя соприкасающимися Листами собранной рессоры не должна превышать ¼ длины меньшего из двух смежных листов. Зазоры Между-листами при этом должны быть на участках, ограниченных стремянками не более 0,5 мм, в остальных местах не более 2 мм.

  2. Поперечное смещение листов рессоры относительно первого листа за пределами участка жесткого стягивания должно быть не более.3,5 мм.

  3. Неперпендикулярность поверхности D относительно оси поверхности С допускается не более 5 мм на длине 800 мм.

  4. Нормальный зазор между втулками и пальцем рессоры Должен быть в пределах 0,530...0,794 мм. Допустимый зазор 1,1 мм.

Сборка балансирной рессоры Т-170

Приклепайте две стяжки 10 заклепками к третьему листу 7 рессоры на плите с гнездом под заклепки. Головки заклепок должны утопать с внутренней стороны листа. Заклепки должны плотно стягивать соединяемые детали. Смажьте трущиеся поверхности листов рессоры графитной смазкой.

Установите на пресс третий лист рессоры со стяжками и положите на него листы 8 и 9. Вставьте болт в отверстия листов.

Сожмите листы рессоры до полного прилегания друг к другу, установите металлическую подкладку И и отогните концы стяжек так, чтобы они охватили все три листа. Зазор Я в стыке между концами не должен быть более 6 мм. Снимите, нагрузку с рессоры и переверните ее. Смажьте трущиеся поверхности листов 5 и 6 графитной смазкой и уложите их на третий лист. Сожмите рессору до полного прилегания поверхностей рессоры друг к другу и наверните гайку 3 на болт до отказа. Уложите крышку 2 на первый лист рессоры и установите четыре стремянки 4. Наденьте на стремянки шайбы и наверните гайки 1.

Сожмите рессору, усилием 150 кН (15000-кгс). Снимите нагрузку. Затяните гайки стремянок и застопорите, отогните лапки стопорных шайб на грани головок гаек. Момент затяжки гаек 310...410 Н-м (31...41 кгс-м). Подтяните гайку на болте и раскерните резьбу на болте в трех точках по окружности в местах выхода болта из гайки. Замерьте толщину пяти листов рессоры. Разность размеров К и М не должна быть более 2,5 мм.

Проверьте рессору на стрелку прогиба. Под нагрузкой 150 кН (15 000 кгс) при расстоянии между опорами рессоры 1600 мм стрела прогиба должна быть (32±5) мм.

Заварите концы стяжек рессоры в местах стыка электросваркой. Высота шва не должна превышать 3 мм. Повреждение листов рессоры электросваркой не допускается. Полость Е заполните графитной смазкой.

Установка балансирной рессоры Т-170

Прикрепите рессору с помощью приспособления ( см. рис. 307 ) к подъемнику и подайте ее к трактору со стороны снятой тележки. Подложите под трактор толстые деревянные бруски и уложите на них рессору. Продвиньте рессору под трактором до захода конца рессоры в окно рамы тележки. Поднимите домкратом второй конец рессоры до совмещения отверстий под палец 14 ( см. рис. 306 ) в крышке и коробке рессоры и подставьте под нее подставку. Смажьте графитной смазкой палец и отверстия в коробке и втулках крышки рессоры. Забейте палец 14 рессоры и вставьте в совмещенные отверстия пальца и коробки штырь 12. Застопорите штырь с обеих сторон стопорами 13, подложив под них гладкие шайбы. Уберите подставку из-под рессоры. Установите тележку и уберите упоры из-под лонжеронов и корпуса бортовых фрикционов. Соедините и натяните гусеницу.

Ремонт балансирной рессоры