Запасные части ЧТЗ Запасные части ЧТЗ
Балашиха
Например:
Актобе
Алдан
или
Выбрать автоматически
Актобе
Алдан
Алматы
Алчевск
Архангельск
Астана
Астрахань
Атырау
Баку
Балашиха
Барнаул
Белгород
Бердянск
Бишкек
Владивосток
Владикавказ
Воркута
Воронеж
Горловка
Грозный
Донецк
Екатеринбург
Иваново
Ижевск
Иркутск
Казань
Калининград
Каменск-Уральский
Караганда
Каховка
Кемерово
Киров
Комсомольск-на-Амуре
Костанай
Краснодар
Красноярск
Красный луч
Ленск
Луганск
Магадан
Магнитогорск
Макеевка
Махачкала
Мелитополь
Минск
Мирный (Якутия)
Москва
Мурманск
Нерюнгри
Нижневартовск
Нижний Новгород
Нижний Тагил
Новая каховка
Новокузнецк
Новосибирск
Новый Уренгой
Норильск
Ноябрьск
Нур-Султан
Омск
Оренбург
Ош
Павлодар
Пермь
Петрозаводск
Петропавловск
Петропавловск-Камчатский
Псков
Ростов-на-Дону
Салехард
Самара
Санкт-Петербург
Саратов
Севастополь
Семей
Симферополь
Сочи
Ставрополь
Сургут
Сыктывкар
Тараз
Ташкент
Токмак
Томск
Тында
Тюмень
Ульяновск
Усинск
Усть-Каменогорск
Уфа
Хабаровск
Ханты-Мансийск
Херсон
Челябинск
Чита
Шымкент
Экибастуз
Энергодар
Южно-Сахалинск
Якутск
Ваш город
Балашиха
Войти
Запасные части к тракторам на одном сайте
+7 (932) 303-00-10
+7 (932) 303-00-10
г. Балашиха, Объездное шоссе, вл4А
Пн-Пт: 9:30-18:30 Cб-Вс: Выходной
Отправить заявку


Порядок разборки бульдозерного оборудования с поворотным отвалом с ручным перекосом ЧТЗ


/
с НДС 20%
Описание
Установить трактор с БО на горизонтальной площадке.
Поднять отвал на высоту не более 300 мм от поверхности земли.
Расстопорить и выбить пальцы 29 (рис. 9) из шаровых пальцев 30 толкателей.

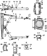
Сборка и установка оборудования бульдозерного модели Д
Рис. 9 Сборка и установка оборудования бульдозерного модели Д
1, 5-полурама; 2, 10, 20, 27, 29-палец; 3, 28-шплинт; 4-брус толкателя; 6, 15, 17, 23, 33-болт; 7, 16, 18, 24, 31-шайба; 8, 11-крестовина; 9-отвал; 12-раскос; 13, 25-гайка; 14, 22, 32-крышка; 19-ригель; 21-опора шаровая; 26-прокладка; 30-палец шаровой; 34-гнездо

Отвести в сторону оба бруса толкателя до выхода шаровых пальцев из кронштейнов рамы, опустить отвал на землю, установить под брусьями толкателей подставки и остановить дизель.
Вывернуть болты 33, снять крышку 32.
Пустить дизель и задним ходом продвинуть трактор за пределы отвала с.толкателем. Остановить дизель.
Снять гидроцилиндры подъема и опускания отвала.
Застропить отвал 9 и положить брусьями толкателя 4 вверх.
Расстопорить, выбить пальцы 10, вынуть брусья толкателей и раскосы 12 из проушин отвала.
Установить полураму 1, 5 горизонтально на подставках.
Отвернуть гайки крепления крышки 22, вынуть болты 23 снять крышку и прокладку. Расстопорить и выбить пальцы 2.
Пустить дизель и задним ходом продвинуть трактор за пределы рамы. Остановить дизель.
Порядок разборки бульдозерного оборудования с поворотным отвалом с ручным перекосом