Запасные части ЧТЗ Запасные части ЧТЗ
Балашиха
Например:
Актобе
Алдан
или
Выбрать автоматически
Актобе
Алдан
Алматы
Алчевск
Архангельск
Астана
Астрахань
Атырау
Баку
Балашиха
Барнаул
Белгород
Бердянск
Бишкек
Владивосток
Владикавказ
Воркута
Воронеж
Горловка
Грозный
Донецк
Екатеринбург
Иваново
Ижевск
Иркутск
Казань
Калининград
Каменск-Уральский
Караганда
Каховка
Кемерово
Киров
Комсомольск-на-Амуре
Костанай
Краснодар
Красноярск
Красный луч
Ленск
Луганск
Магадан
Магнитогорск
Макеевка
Махачкала
Мелитополь
Минск
Мирный (Якутия)
Москва
Мурманск
Нерюнгри
Нижневартовск
Нижний Новгород
Нижний Тагил
Новая каховка
Новокузнецк
Новосибирск
Новый Уренгой
Норильск
Ноябрьск
Нур-Султан
Омск
Оренбург
Ош
Павлодар
Пермь
Петрозаводск
Петропавловск
Петропавловск-Камчатский
Псков
Ростов-на-Дону
Салехард
Самара
Санкт-Петербург
Саратов
Севастополь
Семей
Симферополь
Сочи
Ставрополь
Сургут
Сыктывкар
Тараз
Ташкент
Токмак
Томск
Тында
Тюмень
Ульяновск
Усинск
Усть-Каменогорск
Уфа
Хабаровск
Ханты-Мансийск
Херсон
Челябинск
Чита
Шымкент
Экибастуз
Энергодар
Южно-Сахалинск
Якутск
Ваш город
Балашиха
Войти
Запасные части к тракторам на одном сайте
+7 (932) 303-00-10
+7 (932) 303-00-10
г. Балашиха, Объездное шоссе, вл4А
Пн-Пт: 9:30-18:30 Cб-Вс: Выходной
Отправить заявку


Обслуживание системы смазки


/
с НДС 20%
Описание
Обслуживание системы смазки дизеля включает замену масла в системе смазки и промывку системы смазки, масляной центрифуги, фильтра турбокомпрессора.

Операции по обслуживанию системы смазки выполнять в сроки, указанные в разделе «Техническое обслуживание». При сливе отработанных масел из систем и сборочных единиц дизеля следует применять емкости (ведро, ванна и т.п.), исключающие попадание масла на землю и обеспечивающие его слив в полном объеме.

Замена масла в системе смазки дизеля

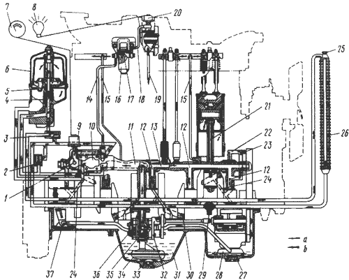
Отвернуть пробки сливных отверстий 27 и 33 (см. рис. 15), пробку 25 в верхней части масляного радиатора и слить масло в подготовленную емкость сразу после остановки прогретого дизеля. Промыть пробки и сапун дизельным топливом. После промывки смочить набивку сапуна маслом и стряхнуть излишки.

Ввернуть пробки, залить в картер (32±2) л свежего масла, пустить дизель и поработать 2-3 мин. Остановить дизель, через 10 мин замерить уровень масла и долить до верхней метки на масломерной линейке.
У дизеля, работающего на малой частоте вращения, уровень масла должен быть между метками.
Не допускается работа дизеля при уровне масла ниже нижней метки масломерной линейки.
Проверить плотность всех соединений после замены масла, не допускать утечек масла. Давление масла при работе прогретого дизеля при номинальной частоте вращения должно быть 0,2-0,5 МПа (2-5 кгс/см2). Если давление масла не соответствует указанной выше величине, то провести работы по п. 8.7.

Промывка системы смазки дизеля

При проведении ТО после 50 моточасов работы нового дизеля и ТО-3 дополнительно промыть систему смазки. Слить из системы смазки отработанное масло и ввернуть пробки.

Залить в картер 20 л смеси (50% дизельного топлива и 50% моторного масла), пустить дизель и дать ему проработать на средней частоте вращения 2-3 мин. Во время работы дизеля давление на указателе давления системы смазки должно быть не менее 0,1 МПа (1 кгс/см2). Остановить дизель и слить смесь в емкость. Снять боковую крышку картера, отсоединить центральный маслоприемник и промыть его сетку. Залить свежее масло, как указано выше.
Не допускается применять для обтирания поверхностей картера и сетки ветошь.

Промывка масляной центрифуги

Центрифуга масляная двигателя Д-160
Рис. 42. Центрифуга масляная
1-корпус центрифуги; 2-ротор в сборе; 3-колпак; 4-ось ротора центрифуги; 5-шарик перепускного клапана; 6-пробка; 7-пружина; 8-седло перепускного клапана; 9-корпус клапана термостата; 10-пружина; 11-шарик клапана термостата.

Отвернуть:
  • гайку крепления колпака 3 (рис. 42) центрифуги и снять колпак;
  • гайку осевой фиксации ротора 2, снять упорную шайбу и ротор с оси 4;
  • гайку ротора, не зажимая ротор, и разъединить крышку и остов ротора.
Очистить внутреннюю полость крышки от отложений деревянным скребком и промыть все детали ротора в дизельном топливе.
Прочистить отверстия жиклеров реактивного привода центрифуги медной или латунной проволокой Ø 2 мм.
Убедиться в целостности уплотнительного кольца и собрать ротор.
Момент затяжки гайки ротора 20-40 Н/м (2-4 кгс/м). Проверить, нет ли задиров и выбоин на оси ротора, и смазать шейки моторным маслом.
Установить ротор и упорную шайбу на ось и закрепить гайкой. Ротор должен вращаться без рывков и заеданий.
Проверить целостность прокладки под колпаком центрифуги и смазать ее солидолом. Установить колпак и завернуть гайку.

Промывка фильтра турбокомпрессора

Фильтр турбокомпрессора
Рис. 43. Фильтр турбокомпрессора
1, 3-прокладки; 2-пробка клапана; 4-пробка нажимная; 5-корпус; 6, 7, 11-кольца уплотнительные; 8-элемент фильтрующий; 9-шайба; 10, 14-пружины; 12-колпак фильтра; 13-шарик перепускного клапана.

Отвернуть нажимную пробку 4 (рис. 43) фильтра, снять колпак 12 и фильтрующий элемент 8.
Промыть детали фильтра в чистом дизельном топливе.
При сборке и установке убедиться в целостности уплотнительных колец 6, 7, 11 и прокладки 3.
Обслуживание системы смазки