Запасные части ЧТЗ Запасные части ЧТЗ
Балашиха
Например:
Актобе
Алдан
или
Выбрать автоматически
Актобе
Алдан
Алматы
Алчевск
Архангельск
Астана
Астрахань
Атырау
Баку
Балашиха
Барнаул
Белгород
Бердянск
Бишкек
Владивосток
Владикавказ
Воркута
Воронеж
Горловка
Грозный
Донецк
Екатеринбург
Иваново
Ижевск
Иркутск
Казань
Калининград
Каменск-Уральский
Караганда
Каховка
Кемерово
Киров
Комсомольск-на-Амуре
Костанай
Краснодар
Красноярск
Красный луч
Ленск
Луганск
Магадан
Магнитогорск
Макеевка
Махачкала
Мелитополь
Минск
Мирный (Якутия)
Москва
Мурманск
Нерюнгри
Нижневартовск
Нижний Новгород
Нижний Тагил
Новая каховка
Новокузнецк
Новосибирск
Новый Уренгой
Норильск
Ноябрьск
Нур-Султан
Омск
Оренбург
Ош
Павлодар
Пермь
Петрозаводск
Петропавловск
Петропавловск-Камчатский
Псков
Ростов-на-Дону
Салехард
Самара
Санкт-Петербург
Саратов
Севастополь
Семей
Симферополь
Сочи
Ставрополь
Сургут
Сыктывкар
Тараз
Ташкент
Токмак
Томск
Тында
Тюмень
Ульяновск
Усинск
Усть-Каменогорск
Уфа
Хабаровск
Ханты-Мансийск
Херсон
Челябинск
Чита
Шымкент
Экибастуз
Энергодар
Южно-Сахалинск
Якутск
Ваш город
Балашиха
Войти
Запасные части к тракторам на одном сайте
+7 (932) 303-00-10
+7 (932) 303-00-10
г. Балашиха, Объездное шоссе, вл4А
Пн-Пт: 9:30-18:30 Cб-Вс: Выходной
Отправить заявку


Изменения в тракторах ДЭТ-250 и ДЭТ-320


/
с НДС 20%
Описание

в двигателе ДЭТ
в электрооборудовании ДЭТ
в трансмиссии ДЭТ
в ходовой и несущей системе ДЭТ
в кабине ДЭТ
в гидросистеме ДЭТ
в бульдозерном оборудовании ДЭТ

Изменения в двигателе ДЭТ

С целью уменьшения массы и снижения инерционной нагрузки на тракторах ДЭТ-320 введена алюминиевая крыльчатка 749-04-181СП вентилятора охлаждения силового генератора взамен стальной 749-04-167СП. Крыльчатки взаимозаменяемы.

июнь 2007 г.

С целью повышения надежности на тракторах ДЭТ-320 взамен фильтра грубой очистки топлива 840.1105010СП установлен фильтр «SEPAR 2000».

установлен фильтр SEPAR 2000

Применение фильтра «SEPAR 2000» обеспечивает:

  • высокую степень отделения содержащейся в топливе воды и загрязнений за счет трех ступеней очистки топлива (двух ступеней сепарации и одной - фильтрации);
  • возможность подогрева топлива в зимних условиях эксплуатации.

Установка нового фильтра повлекла за собой следующие изменения сопрягаемых деталей и сборочных единиц в топливной системе:

а) введены:

  • трубки 748-25-294 (2 шт.);
  • кольца 22x30 МН 4152-62 (2 шт.);
  • шайбы 8.02.3т.019 (2 шт.);
  • хомуты SGT 25-40/9 (6 шт.);
  • рукав 700-40-3485;

б) заменены:

  • труба 749-25-210СП на 749-25-230СП;
  • болты M12-6g×25.58.019 на M8-6g×25.88.35.019 (2 шт.);
  • шайбы 12 ОТ 65Г 09 на 8Т 65Г 09 (2 шт.);
  • труба 749-25-181 на рукав 700-40-3487;
  • фланец 749-25-208СП на 749-25-229СП;

в) аннулированы:

  • рукава 700-40-3480 (3 шт.);
  • SGT хомуты 16-27/9 (6 шт.);
  • патрубок 749-25-21ЗСП;
  • труба 749-25-212СП.

II квартал 2007 г.

Изменения в электрооборудовании ДЭТ

С целью исключения перегрева и повышения долговечности регулятор напряжения РН-116 перенесен из блока сопротивлений 749-82-156СП в кабину трактора ДЭТ-320 на тумбу дополнительного сиденья 749-23-101СП.

2006 г.

Для удобства обслуживания трактора ДЭТ-320 и повышения надежности три блока предохранителей РР-12Е (2 шт.) и ПР-10А заменены одним новым блоком предохранителей 41.3722.

введён блок предохранителей 41.3722

2006 г.

С целью повышения уровня комфортности в кабине трактора ДЭТ-320 на панели приборов установлен прикуриватель 11.3725.

2006 г.

На тракторах ДЭТ-320 для обеспечения надежного крепления и защиты от повреждения проводов и жгутов, проходящих через хомуты, введены разрезные трубки 305ТВ-40,20 (или ТВ-40Т,20) с обмоткой их лентой ПВХ.

введены разрезные трубки 305ТВ-40,20

май 2007 г.

Для сглаживания пиков напряжения зарядного генератора ГП-6,5 и повышения безотказности регулятора РН-116 введен фильтр 749-10-205СП.

введен фильтр 749-10-205СП

Фильтр крепится с помощью двух болтов M6-6g×12.88.35.019 с шайбами 6Т 65Г 09:

  • на правой боковине кожуха блока управления, справа от реле 901.3747, рис. а) - для трактора ДЭТ-320;
  • на задней стенке кабины под реле 901.3747, рис. б) - для трактора ДЭТ-250М2.

октябрь 2007 г.

Для обеспечения надежности крепления и защиты от повреждения наружных проводов индукторного генератора ГИ 160-6 введены хомут 700-54-201-24 и прокладка 700-40-2654-01.

введены хомут и прокладка

февраль 2008 г.

Для повышения надежности, в том числе удобства обслуживания трактора ДЭТ-320, семь блоков защиты БЗ-ЗО с предохранителями заменены одним блоком со штыревыми предохранителями 41.3722.

введен блок 41.3722

февраль 2008 г.

В связи с вводом на тракторах аккумуляторных батарей закрытого типа (с залитыми мастикой перемычки между банками) введены контакторнаые панели 749-82-169СП (на ДЭТ-320) и 748-82-420СП (на ДЭТ-250М2) стремя последовательно соединенными диодами Д232-80-6-В2 с охладителями 0331-80 взамен контакторнаых панелей 749-82-146СП (ДЭТ-320) и 748-82-414СП или 748-82-418СП (ДЭТ-250М2) с одним диодом Д161-320-ЗУХЛ2 с охладителем 0171-80-В2.

введены контакторнаые панели

I квартал 2008 г.

С целью повышения надежности взамен регулятора РН-116 введен регулятор РН-116-01 с измененной электросхемой. Регуляторы взаимозаменяемы.

август 2008 г.

На тракторе ДЭТ-320 блок фар с фарами 3301.3711 заменен фарами 781.3711 с галогенными лампами.

апрель 2009 г.

Изменения в трансмиссии ДЭТ

Для обеспечения доступа через люк к регулировочным муфтам 748-17-364СП и снижения трудоемкости регулировок тяг в эксплуатации изменена длина тяг 749-17-155СП и 749-17-156СП привода управления трактором ДЭТ-320.

2006 г.

С целью повышения надежности соединения вала силового генератора ГПА-222 с муфтой 748-50-467 введена шпонка 700-34-63-09 (на тракторах ДЭТ-250М2 и ДЭТ-320).

введена шпонка 700-34-63-09

2006 г.

С целью унификации деталей и повышения надежности фиксации рычага управления движением трактора ДЭТ-320 в мостике 749-17-144СП применен фиксатор 749-15-155СП.

применен фиксатор 749-15-155СП

2006 г.

С целью повышения надежности соединения фрикционной и соединительной муфт и унификации гаек, взамен гаек 2М18×1,5.6Н.12.45×019 установлены 700-30-2328 (6 шт.). При этом введены шайбы 18.01.019.

установлены 700-30-2328

август 2007 г.

Для обеспечения четкости управляемости трактора ДЭТ-320 (ликвидации люфта рычага управления в транспортном положении) введено ограничение хода вилки 749-17-136СП в мостике 749-17-144СП за счет выполнения упора.

введено ограничение хода вилки

I квартал 2008 г.

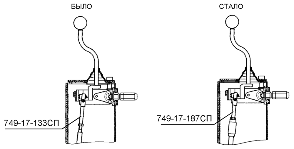
Для облегчения регулировки длин тяг при сборке и в эксплуатации (без отсоединения их от рычага) в приводе управления трактором ДЭТ-320 взамен тяг 749-17-133СП введены тяги 749-17-187СП со стяжкой с правой и левой резьбами.

введены тяги 749-17-187СП

III квартал 2008 г.

Ввод упрощенной конструкции щупа 748-50-233СП в редуктор привода генераторов 748-50-209СП, 749-50-157СП с целью снижения трудоемкости его изготовления. Взаимозаменяемость сохранена.

ввод упрощенной конструкции щупа

II квартал 2010г.

Изменения в ходовой и несущей системе ДЭТ

С целью защиты от вандализма введено пломбирование крышки 748-20-229СП люка в наклонном листе рамы трактора.

Пломба крепится с помощью проволоки и вновь введенного болта 700-28-915 с отверстием в головке к ушку для пломбирования, приваренному к крышке.

введен болт 700-28-915

март 2007 г.

С целью повышения коррозионной стойкости введено цинкование поверхности шайбы 700-31-440 опорного катка.

март 2007 г.

С целью повышения прочности проушин звеньев 748-22-75/76 гусеничных цепей трактора ДЭТ-250М изменены размеры поковки.

изменены размеры поковки

ноябрь 2007 г.

С целью повышения герметичности и надежности катков на тракторах ДЭТ-250М и ДЭТ-320 установлены катки Кат 33-169-01СП с уплотнением DUO-CONE взамен катков 748-21-169СП.

установлены катки Кат 33-169-01СП

III квартал 2008 г.

С целью исключения течи смазки, увеличения срока службы и унификации направляющих колес установлены направляющие колеса 748-31-195СП с уплотнением DUO-CONE взамен направляющих колес 748-31-185СП (на ДЭТ-250М2) и 748-31-191СП (на ДЭТ-320).

установлены направляющие колеса 748-31-195СП

III квартал 2008 г.

С целью улучшения доступа к крану слива воды из системы охлаждения двигателя на тракторе ДЭТ-320 изменено положение лючка в бампере 749-20-349.

изменено положение лючка в бампере

январь 2009 г.

Изменения в кабине ДЭТ

Для повышения надежности крепления прикуривателя на панели приборов введена стальная шайба 749-93-126.

апрель 2007 г.

Для повышения прочности платформы кабины трактора ДЭТ-320 введены две дополнительные балки.

введена балка 749-58-149

Балка 749-58-124 замена более жесткой балкой 749-58-149.

май 2007 г.

Введены новые болты в установке сиденья водителя.

IV квартал 2007 г.

С целью повышения надежности запирающего устройства дверей кабины трактора установлены ручки (с замками) 80-61105300 взамен замков 748-59-700СП, 748-59-699СП (на ДЭТ-250) и замков 714-59-сб180, 714-59-сб179 (на ДЭТ-320).

При этом двери 748-59-709СП, 748-59-709-01СП заменены соответственно на двери 748-59-723СП, 748-59-723-01СП (на ДЭТ-250) и двери 714-59-сб201,714-59-сб200 - соответственно на двери 749-59-724СП, 749-59-724-01СП (на ДЭТ-320).

сентябрь 2008 г.

Для улучшения обогрева кабины трактора ДЭТ-320 устанавливается отопитель-вентилятор ZENITH 8000.

апрель 2009 г.

На тракторе ДЭТ-320 изменен внутренний интерьер кабины:

  • панели из картона обкленные винилискожей заменены на листовые панели из пластика АБС, изготовленные методом ваккуумформования;
  • замки дверей кабины производства ЧТЗ заменены на покупные ручки с замком 80-6105300-А1 производства МТЗ.

замки дверей кабины заменены

I квартал 2010 г.

Изменения в гидросистеме ДЭТ

Для повышения надежности и ремонтопригодности ввод двух шестеренных насосов НШ-100 взамен аксиально-поршневого насоса 933.02.019 (на тракторах ДЭТ-250М2).

ввод двух шестеренных насосов НШ-100

2006 г.

С целью унификации труб гидропривода на тракторе ДЭТ-320 взамен труб 748-99-138СП и 748-99-139СП применены трубы 748-99-615СП и 748-99-621СП трактора ДЭТ-250М2.

II квартал 2007 г

Изменения в бульдозерном оборудовании ДЭТ

С целью защиты деталей и узлов ходовой системы (гусениц, натяжных колес и опорных катков) от камней при бульдозировании, установлены защитные кожухи на толкающие брусья отвалов бульдозеров ДЭТ-250М2Б и ДЭТ-320Б.

установлены защитные кожухи

2006 г.

Изменения в тракторах ДЭТ-250 и ДЭТ-320