Запасные части ЧТЗ Запасные части ЧТЗ
Балашиха
Например:
Актобе
Алдан
или
Выбрать автоматически
Актобе
Алдан
Алматы
Алчевск
Архангельск
Астана
Астрахань
Атырау
Баку
Балашиха
Барнаул
Белгород
Бердянск
Бишкек
Владивосток
Владикавказ
Воркута
Воронеж
Горловка
Грозный
Донецк
Екатеринбург
Иваново
Ижевск
Иркутск
Казань
Калининград
Каменск-Уральский
Караганда
Каховка
Кемерово
Киров
Комсомольск-на-Амуре
Костанай
Краснодар
Красноярск
Красный луч
Ленск
Луганск
Магадан
Магнитогорск
Макеевка
Махачкала
Мелитополь
Минск
Мирный (Якутия)
Москва
Мурманск
Нерюнгри
Нижневартовск
Нижний Новгород
Нижний Тагил
Новая каховка
Новокузнецк
Новосибирск
Новый Уренгой
Норильск
Ноябрьск
Нур-Султан
Омск
Оренбург
Ош
Павлодар
Пермь
Петрозаводск
Петропавловск
Петропавловск-Камчатский
Псков
Ростов-на-Дону
Салехард
Самара
Санкт-Петербург
Саратов
Севастополь
Семей
Симферополь
Сочи
Ставрополь
Сургут
Сыктывкар
Тараз
Ташкент
Токмак
Томск
Тында
Тюмень
Ульяновск
Усинск
Усть-Каменогорск
Уфа
Хабаровск
Ханты-Мансийск
Херсон
Челябинск
Чита
Шымкент
Экибастуз
Энергодар
Южно-Сахалинск
Якутск
Ваш город
Балашиха
Войти
Запасные части к тракторам на одном сайте
+7 (932) 303-00-10
+7 (932) 303-00-10
г. Балашиха, Объездное шоссе, вл4А
Пн-Пт: 9:30-18:30 Cб-Вс: Выходной
Отправить заявку


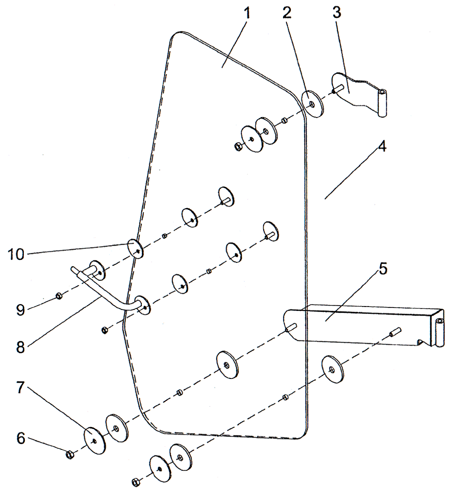
Стекло дверное ПК46


/
с НДС 20%
Описание
ПК46.51.13.000 Стекло дверное ПК46
Поз. Обозначение Наименование Кол. Масса
1 ПК46.51.13. 001 Стекло дверное 1 4,5
2 ПК46.51.13. 002 Прокладка 6 0,02
3 ПК46.51.13. 010 Петля 1 0,55
4 ПК46.51.13. 040 Планка 1 0,03
5 ПК46.51.13. 020 Кронштейн 1 3,4
6 Гайка М10-6Н.5.019 (S16) ГОСТ 5915-70 3 0,002
7 ПК46.51.13. 003 Шайба 3 0,04
8 ПК46.51.13. 030 Ручка 1 0,19
9 Гайка М8-6Н.5.019 (S13) ГОСТ 5915-70 2 0,002
10 ПК46.51.1 3. 005 Прокладка 2 0,02
Общий вес, кг 8,5
Стекло дверное