Запасные части ЧТЗ Запасные части ЧТЗ
Балашиха
Например:
Актобе
Алдан
или
Выбрать автоматически
Актобе
Алдан
Алматы
Алчевск
Архангельск
Астана
Астрахань
Атырау
Баку
Балашиха
Барнаул
Белгород
Бердянск
Бишкек
Владивосток
Владикавказ
Воркута
Воронеж
Горловка
Грозный
Донецк
Екатеринбург
Иваново
Ижевск
Иркутск
Казань
Калининград
Каменск-Уральский
Караганда
Каховка
Кемерово
Киров
Комсомольск-на-Амуре
Костанай
Краснодар
Красноярск
Красный луч
Ленск
Луганск
Магадан
Магнитогорск
Макеевка
Махачкала
Мелитополь
Минск
Мирный (Якутия)
Москва
Мурманск
Нерюнгри
Нижневартовск
Нижний Новгород
Нижний Тагил
Новая каховка
Новокузнецк
Новосибирск
Новый Уренгой
Норильск
Ноябрьск
Нур-Султан
Омск
Оренбург
Ош
Павлодар
Пермь
Петрозаводск
Петропавловск
Петропавловск-Камчатский
Псков
Ростов-на-Дону
Салехард
Самара
Санкт-Петербург
Саратов
Севастополь
Семей
Симферополь
Сочи
Ставрополь
Сургут
Сыктывкар
Тараз
Ташкент
Токмак
Томск
Тында
Тюмень
Ульяновск
Усинск
Усть-Каменогорск
Уфа
Хабаровск
Ханты-Мансийск
Херсон
Челябинск
Чита
Шымкент
Экибастуз
Энергодар
Южно-Сахалинск
Якутск
Ваш город
Балашиха
Войти
Запасные части к тракторам на одном сайте
+7 (932) 303-00-10
+7 (932) 303-00-10
г. Балашиха, Объездное шоссе, вл4А
Пн-Пт: 9:30-18:30 Cб-Вс: Выходной
Отправить заявку


Акселератор на Т10М / Б10М


/
с НДС 20%
Описание
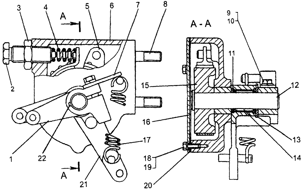
Акселератор Т10М
# Номер запчасти Наименование детали Кол-во в сборке
- 50-74-240СП Акселератор 1
1 50-74-140 Рычаг 1
2 700-35-2128 Винт 1
3 - Гайка М20х1,5-7Н.6.019 1
4 700-38-2578 Пружина 1
5 24-74-104СП Лента тормозная 1
6 50-74-237СП Корпус 1
7 50-74-238СП Зацеп 1
8 - Шпилька  2М12x 3р/6g x35.66.016 2
9 - Шайба 8Т 65Г 09 1
10 2848 Болт 1
11 700-42-2503 Кольцо 2
700-77-84-01 Сальник
12 700-47-2169 Ось 1
13 31342-01 Шайба 1
14 - Подшипник 942/20 1
15 16-74-58 Барабан 1
16 50-74-139 Крышка 1
17 700-38-2967 Пружина 1
18 - Болт M6-6gx14.88.35.019 3
19 - Шайба 6Т 65Г 09 3
20 700-40-7887 Прокладка 1
21 50-74-239СП Рычаг 1
22 34126 Шпонка сегментная 2
- Шпонка 5x7,5
Акселератор